RB12 Datasheet
Note #1: The power jack (P1) is an alternate way to provide 5 volt power for the RB12, and is generally not used. Do not connect anything besides 5 volts to P1. The VS/GND screw-terminals (P3) are outputs. Do not connect any external supply to P3. The Rn+/Rn- terminals are on the load side of the I/O modules, and the only place load voltages should ever connect.
Note #2: On the U6/U6-Pro the digital lines CIO0-2 and MIO0-2 are shared. This means that changing the state of MIO0-2 will also change the state of CIO0-2. Therefore, anyone using two accessory boards with a U6 needs to be aware that they can use either CIO0-2 or MIO0-2, but cannot use both simultaneously. MIO0-2 are used to control extended analog channels, so if you are reading extended channels from the Mux80 you do not want to use slots 8-10 on the RB12 (only use slots 0-7 & 11).
The RB12 provides a convenient interface to industry standard I/O modules, allowing electricians, engineers, and other qualified individuals, to interface a LabJack with high voltages/currents. Logic buffers are used to provide the 10-15 mA needed for each typical I/O module, so that the current is provided by the 5 volt supply rather than the logic control lines.

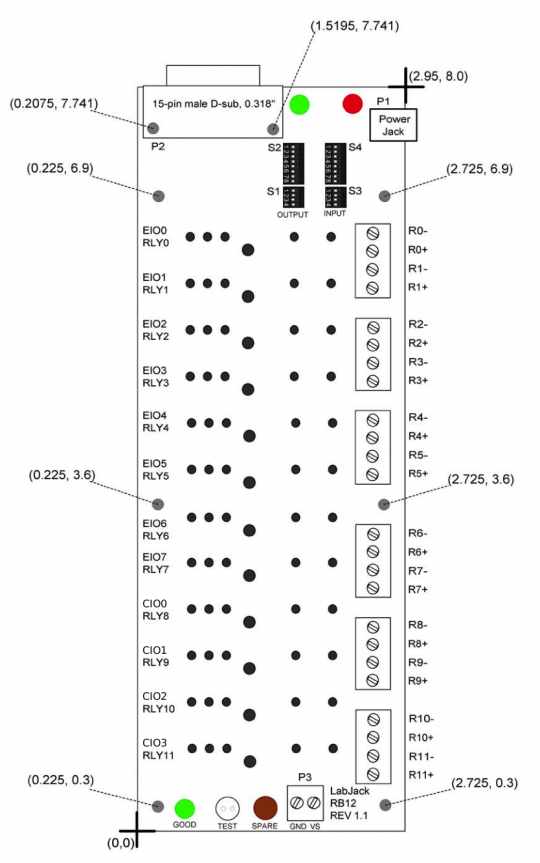
Figure 1: The RB12 without I/O modules (as shipped).
The RB12 relay board connects to the DB15 connector on the LabJack U3/U6/UE9, using the EIO/CIO digital I/O lines (see table 1) to control or read industry standard digital I/O modules. The RB12 is designed to connect directly to the LabJack, but can also connect via a 15-line 1:1 male-female cable (such as the C7MFG-1506G, or Phoenix Contact 1656262 from Digi-Key not included or required).
The RB12 PCB is mounted to a piece of Snaptrack. The Snaptrack is DIN rail mountable using TE Connectivity part #TKAD (not included).
The green LED on the RB12 is directly powered by the 5-volt supply (Vs) from the LabJack, so it should be lit whenever the RB12 is connected to a powered LabJack. The red LED is powered directly by the external power supply (not included or required).
Table 1: RB12 I/O Mapping
Relay | RLY0 | RLY1 | RLY2 | RLY3 | RLY4 | RLY5 | RLY6 | RLY7 | RLY8 | RLY9 | RLY10 | RLY11 |
Digital I/O Line | EIO0 | EIO1 | EIO2 | EIO3 | EIO4 | EIO5 | EIO6 | EIO7 | CIO0 | CIO1 | CIO2 | CIO3 |
Power Supply
The RB12 can be powered from the LabJack through the DB15, or from an external 5-volt supply on power jack P1. If both the LabJack and external supply are connected at the same time (both green and red LEDs on), the external supply will provide power. In most cases the RB12 can simply be powered by the LabJack, but there are various reasons why powering from an external supply, rather than the LabJack, might be desirable. For example, most I/O modules use 10-15 mA, and thus 12 of them would use 120- 180 mA total. In most cases a LabJack can provide this power without problem, but if 12 of the 70G-IDC5S module (Isupply = 41 mA) were used, the total power required by the RB12 could be over 500 mA which is a problem for most LabJacks.
If an external supply is used, it should be regulated with a nominal voltage of 5.0 volts. This is generally provided by a wall-wart or wall-transformer type of supply. A supply capable of 500 mA or more is recommended. The power jack connector is 2.1 x 5.5 mm, center positive. The RB12 is designed to use the same power supply as the UE9, so see Section 2.3 of the UE9 Datasheet for specific recommendations.
Towards the bottom of the RB12 is a 2-position screw terminal (P3) with GND and VS. This is designed as an output connection to provide the user access to the 5 volt supply.
If the RB12 is powered by an external supply, always maintain valid control signals (EIO/CIO) for all output I/O modules. For instance, if the RB12 is powered by a wall-wart, but there is nothing connected to the DB15, the state of output modules is undefined and might vary, but is likely to be enabled.
Output/Input Configuration
The RB12 can be used with output or input types of digital I/O modules. There are 4 banks of DIP switches used to configure whether each of the 12 channels is for output or input. When the switches in the S1 and S2 banks are put in the ON position, those lines are configured for output I/O modules. When the switches in the S3 and S4 banks are put in the ON position, those lines are configured for input I/O modules. To avoid uncertain behavior, do not turn on output and input switches for the same line at the same time.

Figure 2: A single relay channel configured for output. The output switch is ON, and the input switch is OFF. Signals from the DIO are amplified by the buffer before being delivered to the relay’s logic input.

Figure 3: A single relay channel configured for input. The output switch is OFF, and the input switch is ON. Signals bypass the output buffer and go directly into the DIO.
The RB12 behaves with inverted or negative logic. For output modules that means the applicable LabJack DIO must be set to output-low to enable the I/O module. Output modules will be disabled with the DIO set to input or output-high. For input modules the applicable DI will read high when the module is inactive and read low when the module is active. Here are tests with a few different modules:
Output Testing
Make sure the applicable output DIP switch is on and input DIP switch is off. Use Kipling or LJControlPanel to toggle the DIO line between output-high (module is inactive, LED off) and output-low (module is active, LED on).
We tested with a 70G-ODC5A. For a test load we connected LabJack VS to R+, and connected R- to a 320 ohm resistor to GND. We then measured the voltage across the resistor as we turned the module on and off. With the module is inactive the voltage across the resistor was about 0V (no current is flowing), and with the module active the voltage across the resistor was about VS (~5 volts, current is flowing).
Module LED is not turning on when DIO line is set to output-low? The module could be bad, but first check the RB12. Remove the module, securely clamp the negative probe of a DMM to any GND terminal on the LabJack, and use the positive DMM probe to measure the voltage on sockets 3 & 4 on the RB12 (defined below). Socket 3 (VS) should measure about 5 volts. Socket 4 (LOGIC) should measure about 5 volts when the applicable DIO is output-high, and about 0 volts when the applicable DIO is output-low.
Input Testing
Make sure the applicable input DIP switch is on and output DIP switch is off. Use Kipling or LJControlPanel to make sure the DIO line is set to input and to view the current state. A state of 1 or high means the module is inactive (LED off), and a state of 0 or low means the module is active (LED on).
We tested with a G4IDC5. The module was inactive (LED off) with nothing connected to R+/R-, and the LabJack digital input read high. We connected LabJack GND to R-, and connected the output from an LJTick-DAC to R+. With LJTDAC=0V, the module was inactive (LED off) and the LabJack digital input read high. With LJTDAC=10V, the module was active (LED on) and the LabJack digital input read low.
We tested with a G4IDC5-SW. Module was inactive (LED off) with nothing connected to R+/R-, and the LabJack digital input read high. Module was active (LED on) with a jumper wire shorting R+ to R-, and the LabJack digital input read low.
Module LED is not turning on when you apply the proper signal to R+/R-? The module could be bad, but first check the RB12. Remove the module and use a small jumper wire to short sockets 4 & 5 on the RB12 (defined below). The digital input should read high without the jumper and low with the jumper.

Figure 4: RB12 Connected to U3

Figure 5: RB12 Connected to UE9
I/O Modules
For more information specifically about the various I/O modules, see the documentation from the manufacturer. One such manufacturer is Opto22, and as of this writing, the Opto22 “Generation 4 Digital I/O Family Data Book” is dated January 2017 and is available at the following URL:
http://documents.opto22.com/0727_G4_Digital_IO_Data_Book.pdf
Pages 35-52 of this data book cover the available modules, including typical wiring diagrams. The following table maps the I/O modules pin numbers 1-5 (as shown in the Opto22 data book) to their respective RB12 connections:
I/O Module | RB12 |
1 | Rn+ screw terminal |
2 | Rn- screw terminal |
3 | Vs (~5 volts) |
4 | 4.7 kΩ pull-up to Vs and EIOn/CIOn (buffered for output, direct connection for input) |
5 | GND |

Figure 6: Relay module connections.
When configured for output, the control line (EIO/CIO) from the LabJack connects to a logic buffer which then connects to pin 4 of the I/O module. When the control line is high, the buffer output is in a high-impedance state. When the control line is low, the buffer output is connected to ground with the ability to sink up to 24 mA.
When configured for input, the control line (EIO/CIO) from the LabJack connects directly to pin 4 of the I/O module.
The RB12 includes a spare fuse. There is also a fuse tester socket where if a fuse is installed the “GOOD” green LED will light. The spare fuse holder and tester on the RB12 are designed for the TR5 fuse used by Opto22 (Digikey part number WK3062BK).
The RB12 is designed to accept G4 series digital I/O modules from Opto22, and compatible modules from other manufacturers such as the G5 series from Grayhill. Opto22 modules are available from opto22.com, alliedelec.com, and newark.com. Grayhill modules are available from digikey.com and mouser.com.
AC Output
G4OAC5A (Opto22, 24-240 VAC Output @ 3 A, 12 mA control current)
G4OAC5AMA (Opto22, 24-240 VAC Output @ 3 A, Manual Override)
70G-OAC5A (Grayhill, 24-280 VAC Output @ 3.5 A)
DC Output
G4ODC5 (Opto22, 5-60 VDC Output @ 3 A, 12 mA control current)
G4ODC5MA (Opto22, 5-60 VDC Output @ 3 A, Manual Override)
G4ODC5A (Opto22, 5-200 VDC Output @ 1 A)
70G-ODC5 (Grayhill, 3-60 VDC Output @ 3.5 A)
70G-ODC5A (Grayhill, 4-200 VDC Output @ 3.5 A)
Dry Contact Output
G4ODC5R (Opto22, Mechanical Relay Output)
70G-ODC5R [PDF] (Grayhill, Mechanical Relay Output)
AC Input
G4IAC5 (Opto22, 90-140 VAC Input)
G4IAC5MA (Opto22, 90-140 VAC Input, Manual Override)
G4IAC5A (Opto22, 180-280 VAC Input)
70G-IAC5 (Grayhill, 90-140 VAC Input)
70G-IAC5A (Grayhill, 180-280 VAC Input)
DC Input
G4IDC5D (Opto22, 2.5-28 VDC Input)
G4IDC5 (Opto22, 10-32 VDC Input)
G4IDC5MA (Opto22, 10-32 VDC Input, Manual Override)
G4IDC5D (Opto22, 2.5-28 VDC Input)
70G-IDC5 (Grayhill, 3-32 VDC Input)
Dry Contact Input (Switch Input)
G4IDC5-SW (Opto22, Switch Input, Isupply = 25 mA)
SnapTrack Specifications:
Description:
Non-Conductive, Extruded PVC Channel for mounting assemblies and printed circuit boards.
Flammability:
UL94: V-0
Environmental:
Maximum Service Temperature, Air: 163º F / 73º C
RoHS:
Complies with European Union Directive 2002/95/EC Restriction on Hazardous Substances
See the SnapTrack datasheet for more information:
https://www.scidyne.com/ftp/brochure/snaptrack.pdf
Declaration of Conformity
Manufacturers Name: LabJack Corporation
Manufacturers Address: 6900 West Jefferson Ave Suite 110, Lakewood, CO 80235 USA
Declares that the product
Product Name: RB12 Relay Board
Model Number: RB12
conforms to the following Product Specifications:
EMC Directive: 89/336/EEC
EN 55011 Class A
EN 61326-1: General Requirements
Mechanical Drawings
See the following dimension drawing and the attached CAD files.
